专利号:CN201910873418.6
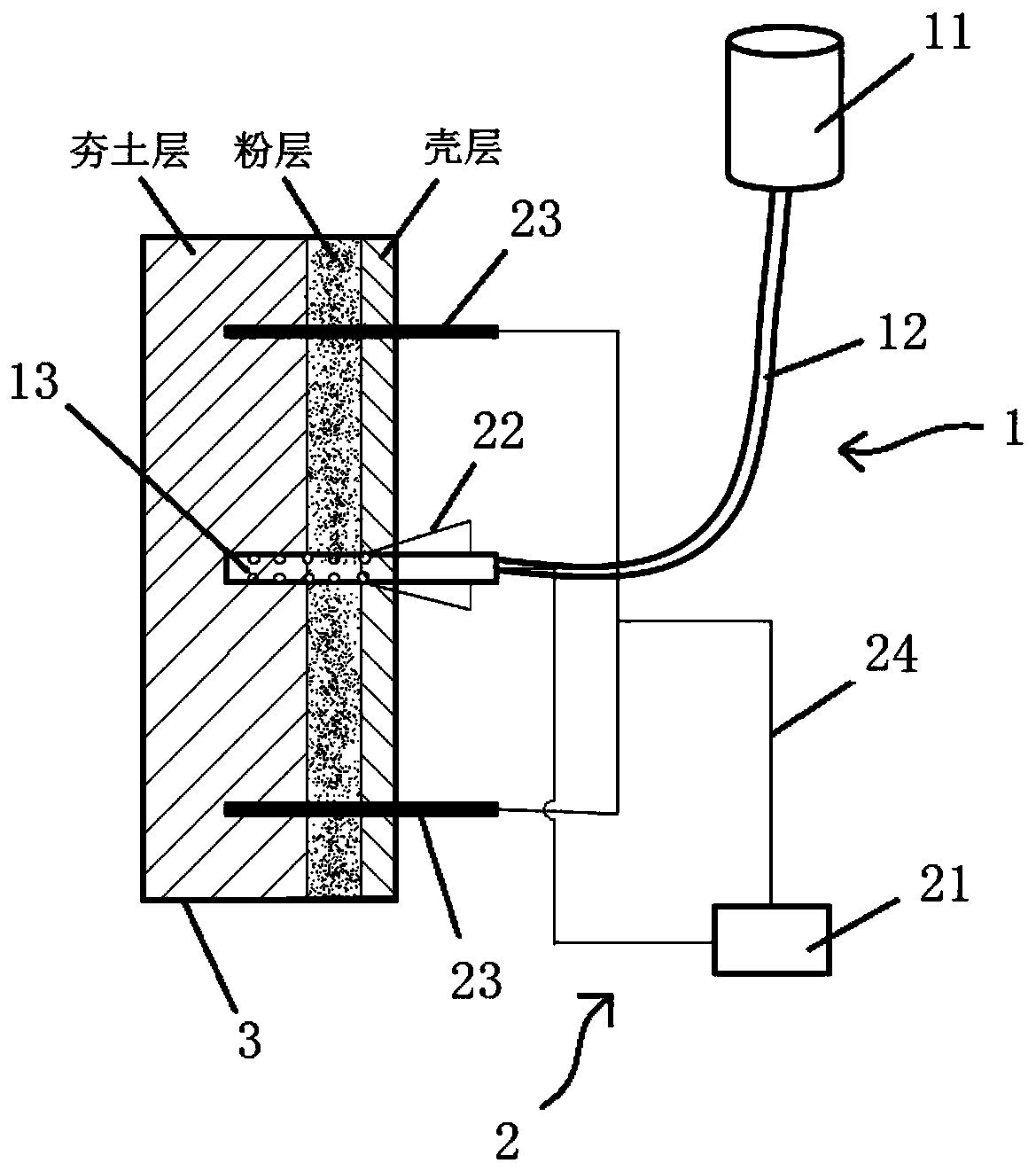
摘要:本发明属于土遗址加固技术领域。为了解决常规方法对土遗址片状剥离进行加固处理时,存在加固效率低和加固效果不好的问题,本发明公开了一种用于土遗址片状剥离加固的装置。该装置包括供液单元和供电单元;供液单元包括供液源、供液管和供液头,供液管两端分别与供液源和供液头连接,将供液源中的加固液引流至供液头处,供液头的自由端插装固定在待加固土遗址的内部;供电单元包括直流电源、阳极和阴极,阳极和阴极分别与直流电源的正极和负极连接,阳极和阴极保持间隔同时插装固定在待加固土遗址的内部;阳极与供液头保持接触连接。采用本发明的装置进行土遗址片状剥离加固,可以在一定深度范围内进行同步定向渗透加固,提高渗透的可控性和效果。
