专利号:CN201911294344.7
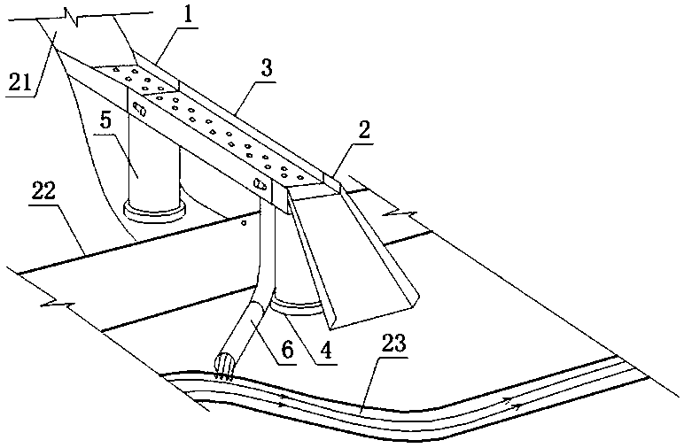
摘要:一种自传送水石分离式排洪渡槽及施工方法,属于岩土工程灾害防治技术领域,包括渡槽进口、渡槽出口、自传送槽身、基础、支撑柱和出水管,自传送槽身由双层U形渠、水轮机、主动轮、从动轮、皮带和输送带组成,双层U形渠的上层层底中间为滚筒,两端为托辊,托辊嵌套从动轮,水轮机安装于双层U形渠的下层并嵌固主动轮,皮带连接主动轮和从动轮,滚筒和托辊上套输送带;在沟壑与公路交汇处修筑基础,基础上修筑支撑柱并架设自传送槽身与渡槽进口和渡槽出口相接,出水管引导水流至流水沟;本发明将泥石流的水和石块大量分离,并利用水的动能带动输送带传送石块,防止渡槽内石块沉降,堵塞渡槽使泥石流满溢,影响线路的正常使用,保护行人和车辆安全。
