专利号:CN201911295717.2
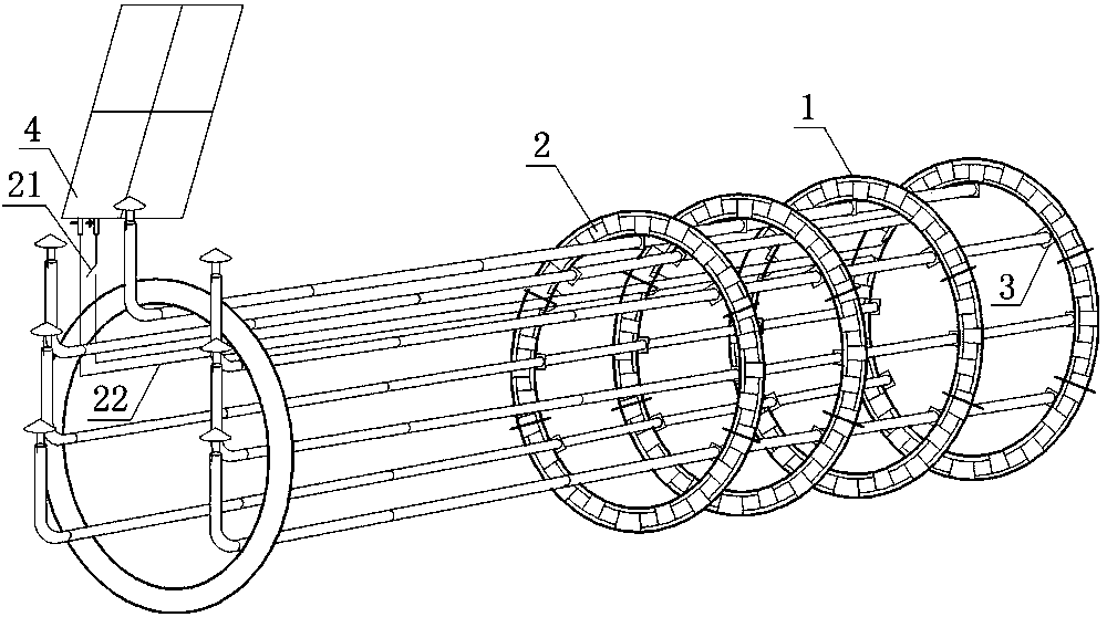
摘要:软弱围岩隧道冻结初期支护结构及施工方法,属于隧道支护结构技术领域,拱架的上下翼缘内部涂有绝缘层;制冷装置由N型半导体、P型半导体和金属垫片构成,将金属垫片错落粘贴在拱架上,并在金属垫片交叉位置上交替焊接N型半导体和P型半导体联结成电偶对;散热装置由连通管、散热器、通风管和抽风管组成,隧道开挖后安装带有制冷装置的拱架,将散热器布设于拱架内侧,相邻拱架用连通管连接;通风管插入拱架上引至隧道洞口,抽风管套入通风管,直流电源与制冷装置相连;本发明在不单独施做制冷系统,不影响拱架作用的情况下,不但可以在隧道软弱段周边围岩上形成冻土壳,隔水和控制隧道变形,增加隧道通风改善施工环境。
