专利号:CN202010048374.6
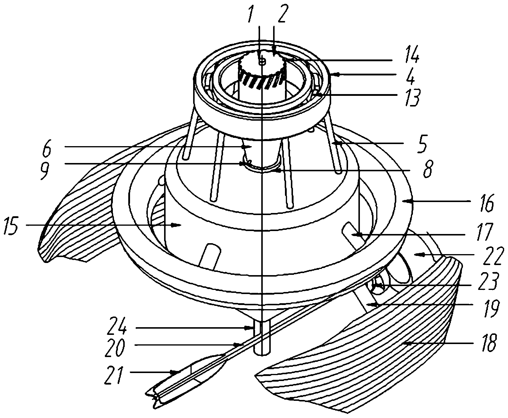
摘要:一种鱼翼型漂浮式流速仪,本发明涉及运输技术中用于水下居住或作业的设备技术领域,绕线支撑环内嵌设有绕线支撑轴承,绕线支撑轴承内开设有穿线孔,绕线手柄的下端固定有绕线盘线轴,绕线盘线轴的上端一体成型有上部挡板,绕线盘线轴的下端一体成型有下部挡板,且绕线盘线轴的下端侧壁固定有接线耳,绕线中心轴的上下两端利用绕线上轴承、绕线下轴承旋接于绕线盘线轴中,且绕线中心轴与绕线手柄上下贯通设置,绕线支撑环的底表面固定有若干个绕线支架。有效的利用天然河流的动力,形成相对静止并实现测流体流速,能够自身保持平衡的同时,还能够达到流速仪自动收放牵引线的目的。
