专利号:CN202020732412.5
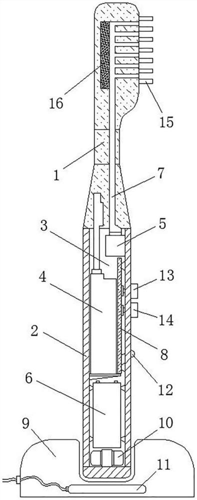
摘要:本实用新型公开了一种小型超声波清洗装置,包括清洗头、握柄,所述的握柄内设置有安装空腔,所述的清洗头固设于握柄的一端,所述的安装空腔内设置有电源单元和与电源单元电连接的震动装置以及清洁风机;所述震动装置的输出轴与清洗头连接,所述的清洗头内还设置有导风管,所述清洁风机的出风端与导风管连通设置;所述的安装空腔内还设置有分别与电源单元、震动装置及清洁风机电连接的线路板,本方案通过震动装置与清洁风机的设置,不仅能够通过高频振动摆幅令清洗头高效的完成清洁动作,同时能够将脏污吹出,避免残留,保证清洁效果。
