专利号:CN202010388151.4
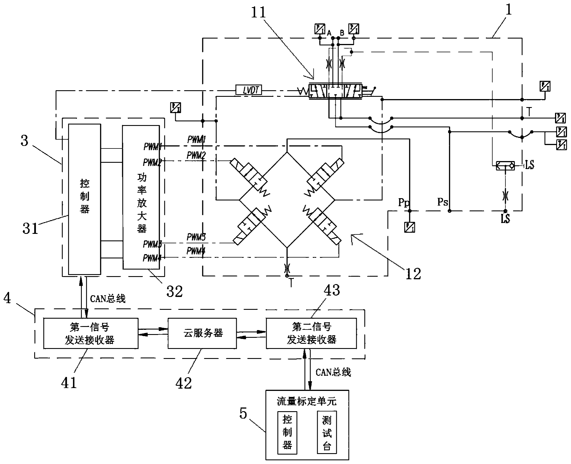
摘要:本发明属于数字比例阀控制技术领域,公开了一种数字比例阀流量控制系统包括数字比例阀、采集单元、阀控单元、传输单元和流量标定单元;采集单元获取数字比例阀工况参数并传输至阀控单元;阀控单元获取采集单元发送的数字比例阀工况参数,并通过传输单元发送至流量标定单元;流量标定单元根据数字比例阀工况参数获得标定流量,生成标定流量表;阀控单元再通过标定流量表中的标定流量与需求流量确定偏差流量,并根据偏差流量调整数字比例阀中主阀口的开度;标定流量表包括流过主阀口的介质温度、主阀口两侧的压力差、主阀口的开度和标定流量。本发明的数字比例阀流量控制系统直接以流量为参考调整数字比例阀的主阀芯位置,实现真正的流量控制。
