专利号:CN202021368065.9
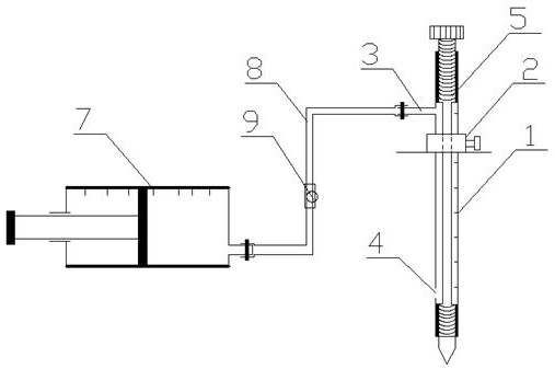
摘要:本实用新型公开了一种人工湿地基质中水质取样装置,它包括两端敞口的取样管和活塞式真空取样器,所述取样管的上下两端内壁上均开设有内螺纹,取样管下部内螺纹的上部侧壁上开设有进液孔,取样管上部内螺纹的下方侧壁上设置有导流管,导流管通过软管与取样器相连接,软管的两端分别通过管卡固定在导流管和取样器上;取样管的内腔中装配有支杆,支杆的顶部和底部均设置有与取样管内壁上的内螺纹相适配的外螺纹,支杆的中部外径小于取样管的内径;取样管的外壁上套装有定位卡环。本实用新型通过采样装置精准采集基质中的水样,并将水样注入检测装置进行检测,全程为无氧环境,样品不与大气接触,保证了检测数据的精确度。
