专利号:CN202010679898.5
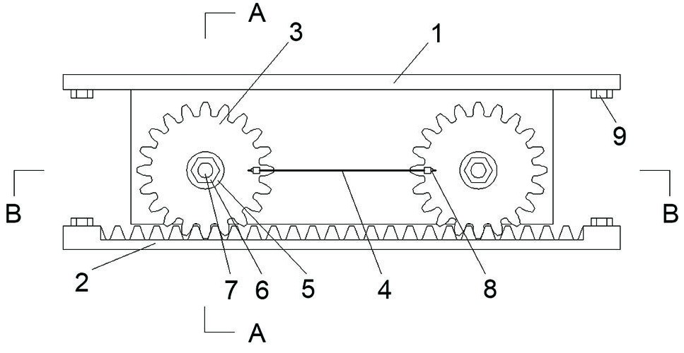
摘要:一种半主动SMA‑压电复合齿轮摩擦阻尼器,包括T型连接件(1),环形摩擦板(10)和带连接孔的齿轮(3)通过螺杆安装在所述T型连接件(1)两侧,安装在所述齿轮(3)外侧的环形压电陶瓷驱动器(5),固定各个部件并施加预紧力的螺母(6);将齿轮(3)置于带齿条的下连接板(2)的中心位置处,并与齿条啮合;螺杆(7)将环形摩擦板(10)、带连接孔的齿轮(3)和环形压电陶瓷驱动器(5)依次固定于所述T型连接件(1)的两侧,且在所述T型连接件(1)同侧预留孔处对称布置两组。
