专利号:CN202022757527.2
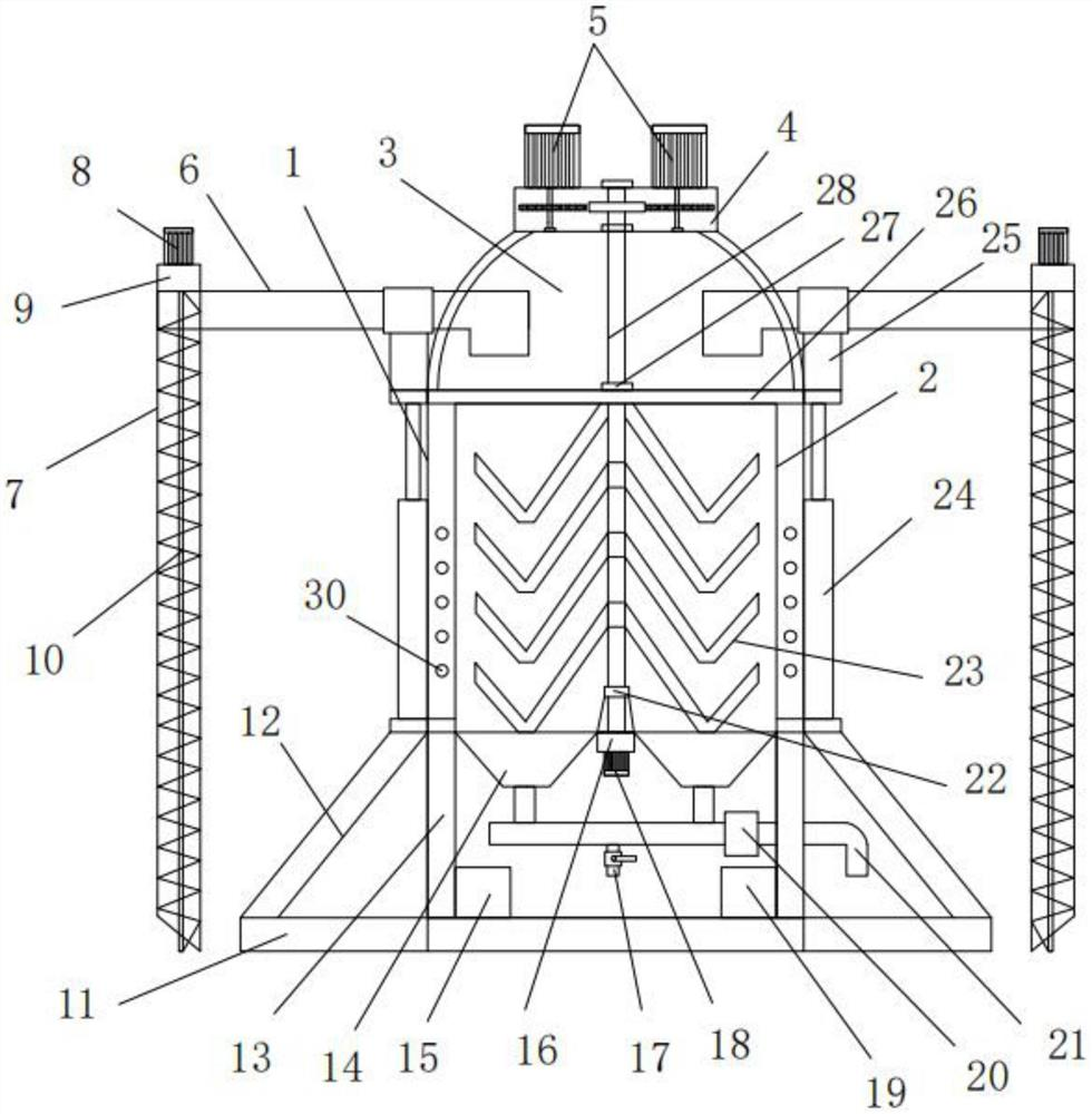
摘要:本实用新型公开了一种化工物料生产加工用搅拌反应装置,包括外缸、内缸和顶盖,所外缸的内部设有内缸,外缸的顶部设有顶盖,顶盖的底部焊接有密封板,密封板的两侧底部均安装有液压缸,密封板的顶部两侧均安装有上料管固定架,上料管固定架上安装有连接管,连接管的一端连接有上料管,上料管的顶部安装有第二齿轮箱,该搅拌反应装置可以对不同状态的物料进行自动上料,能对不同种类的物料进行快速混合搅拌,V型搅拌杆让物料搅拌的更加充分,提高反应效率,节约时间,而且搅拌的时候稳定性能强,高驱动设备的使用寿命长,能快速对反应物料进行加热,能对物料进行快速取样,工作的时候整体的稳定性能强,不会出现晃动的现象。
