专利号:
CN202122697140.7
摘要:
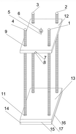
本发明提出了一种混凝土收缩试验装置,用以解决现有混凝土收缩装置稳定性差,影响测量数据的准确性的技术问题。本实用新型包括用于承载试件的底板,所述底板上固定有支撑框架,支撑框架上活动设有顶板,支撑框架上设有定位件,定位件与顶板相配合;所述顶板上设有卡槽,卡槽内设有千分表,顶板上设有定位机构,定位机构与千分表相匹配。本实用新型放置在底板上的混凝土收缩试件可自由膨胀收缩发生变形,在收缩过程未受到摩擦力作用,从而提高了收缩试件变形数据的精确度;利用千分表实时检测混凝土试件收缩方向数值变化,无需通过标准棒零点校正测得不同龄期试件混凝土的长度值,使得整个装置操作更加的便捷。
