专利号:
CN202123236939.2
摘要:
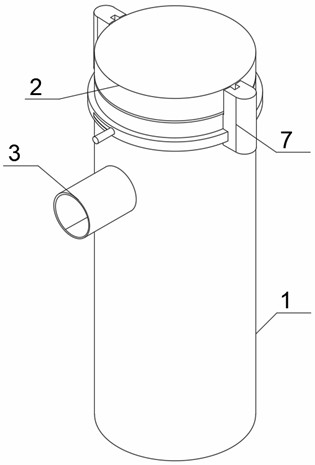
本实用新型公开了一种工程机械用的液压油过滤装置,包括过滤罐、罐盖、进口、出口、压环、滤芯和拆装装置,本设计通过过滤罐表面上侧设置有拆装装置,通过联动机构驱动从动齿,使卡杆转动至限位槽内部,然后通过螺纹筒向下移动,而罐盖进行安装固定,驱动从动齿反向转动,使卡杆向上移动,并转入平滑槽内,然后对插块解除固定,达到了便捷对罐盖进行拆卸或安装,避免拆卸或安装罐盖时操作繁琐;通过过滤罐表面上侧设置有联动机构,握持驱动杆并驱动驱动杆,使转动环转动,从而带动两个从动齿进行同步转动,达到了同时驱动两个从动齿的有益效果。
