专利号:
CN202123245353.2
摘要:
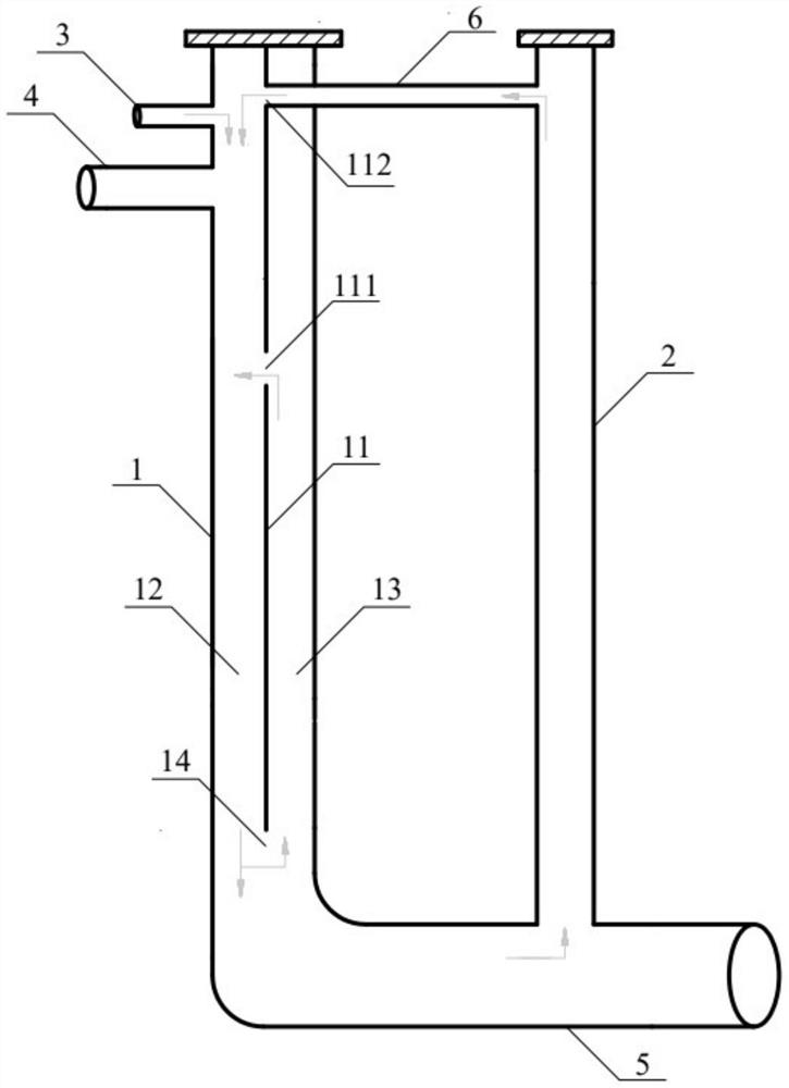
本实用新型提供一种基于气体双循环减少废气排放的竖井,包括竖井井体和气流井井体;竖井井体的一侧设有进气管和进水管,竖井井体的另一侧设有出流管,所述出流管与竖井井体垂直连接,竖井井体的内部设有隔板,隔板沿竖井径向竖直放置在竖井井体中,并将竖井井体分为第一腔体和第二腔体,隔板上设有用于气体流通的第一孔口,隔板的底部与竖井底部之间设有用于气体流通的第二孔口;气流井井体设于出流管上,气流井井体与竖井井体之间设有水平管,水平管的一侧与气流井井体连接,水平管的另一侧穿过竖井井体与隔板连接,并与第一腔体形成连通。本实用新型的竖井使气体形成双循环流通,从而使竖井卷吸的气体更多的发生循环,降低下游管道中的气压。
