专利技术

您当前的位置: 网站首页 > 科技成果 > 专利技术 > 正文

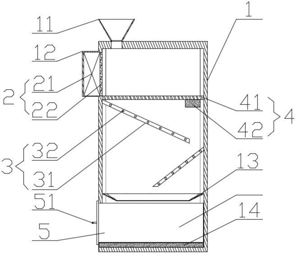
一种磷酸铁锂干燥装置
2024-03-19 点击: 作者: 来源:

专利号:

CN202220087215.1

摘要:

本实用新型公开了一种磷酸铁锂干燥装置,涉及磷酸铁锂制备技术领域。包括主体,主体顶端设置有进料口;热风干燥系统,热风干燥系统安装于主体内壁一侧;侧斜加热系统,侧斜加热系统安装于主体内壁上且位于热风干燥系统下侧。本实用新型提供的一种磷酸铁锂干燥装置设置有热风干燥系统和侧斜加热系统,其配合工作对磷酸铁锂进行两次干燥,干燥效率更高。