专利号:
CN202220238004.3
摘要:
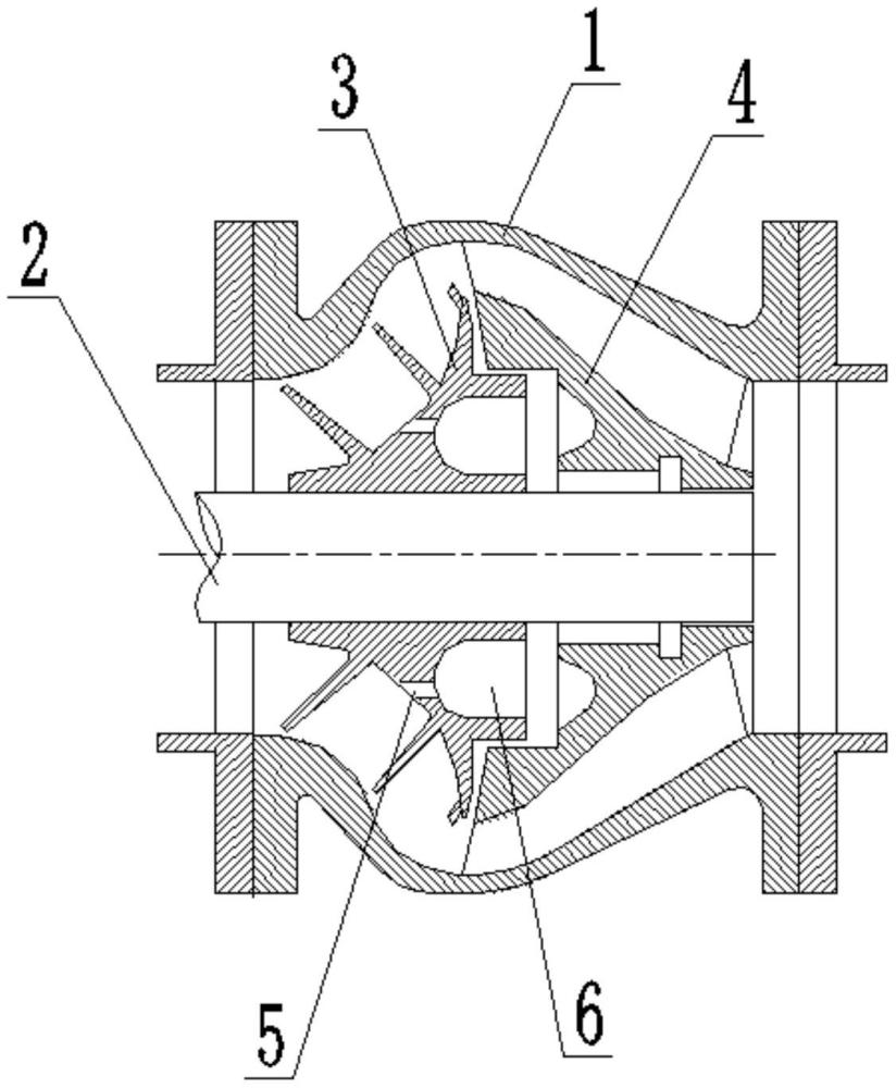
本实用新型公开了一种无堵塞矿浆泵,属于多相流泵技术领域,包括泵体,以及位于泵体内的泵轴,其中在所述泵轴上分别设有螺旋叶轮和空间导叶,所述螺旋叶轮分为螺旋段和离心段,在所述螺旋叶轮轮毂同一高度处的圆周方向上均匀布置有若干平衡孔,该螺旋叶轮的开放式结构使得叶轮和泵体内壁之间形成开阔的螺旋形通道,使被输送固液两相介质在获得能量的同时,极大提高了颗粒在叶轮内的可通过性。与传统多叶片闭式叶轮结构相比,本实用新型所提供的方案优化了泵内液相和颗粒流动,从根本上解决了矿浆泵输送含颗粒固液两相流时的堵塞问题,此外,设置在叶轮上的平衡孔还能有效平衡螺旋叶轮旋转过程中产生的轴向压力,确保整机高效稳定运行。
