专利号:
CN202220255033.0
摘要:
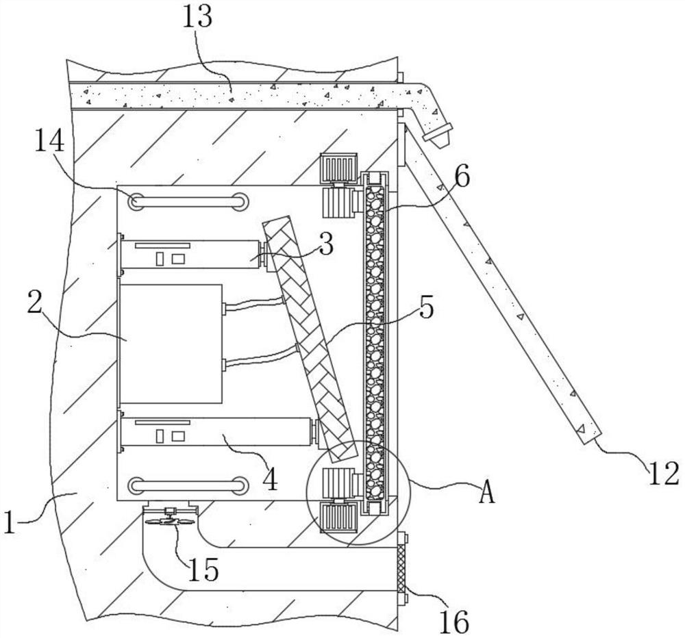
本实用新型公开了一种太阳能与建筑一体化的建筑结构,包括建筑墙体,建筑墙体的内腔中设有锂电池,建筑墙体的内腔中设有第一电推杆和第二电推杆,第一电推杆和第二电推杆的侧端连接有太阳能电板,建筑墙体的内部设有滑门,滑门的上下端设有一排滚轮,滑门的侧面设有齿条道,齿条道对接有电机齿轮,电机齿轮连接在伺服电机顶端,滑门上设有防撞软垫,建筑墙体的侧端设有挡护玻璃板,建筑墙体的内部设有喷水管。本实用新型通过设置第一电推杆和第二电推杆,这样在进行工作时,可以将滑门打开,再同时启动第一电推杆和第二电推杆,使得太阳能电板移动到建筑墙体的外部进行太阳能吸收即可,在不工作时可以进行收纳,十分好用。
