专利技术

您当前的位置: 网站首页 > 科技成果 > 专利技术 > 正文

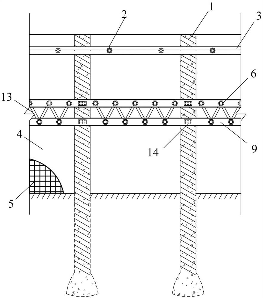
一种带有卸荷管棚的桩锚组合支护结构的施工方法
2024-02-29 点击: 作者: 来源:

专利号:

CN202210530494.9

摘要:

本发明公开了一种带有卸荷管棚的桩锚组合支护结构的施工方法,属于岩土工程支护技术领域。施工方法包括1)施工材料准备;2)施工前准备;3)支护桩施工;4)土层开挖;5)预应力锚杆施工;6)混凝土面层施工;7)卸荷管棚施工。预应力锚杆设置在基坑坑壁上部;卸荷管棚由布置较为密集并以较小倾角伸入基坑坑壁的两层注浆钢管组成;本发明在桩锚结构中部设置卸荷管棚,将上部不稳定土层的自重传递至远离基坑坑壁的稳定土层,解决了支护桩桩身嵌固深度与锚杆长度受限的问题。