专利号:
CN202221178193.6
摘要:
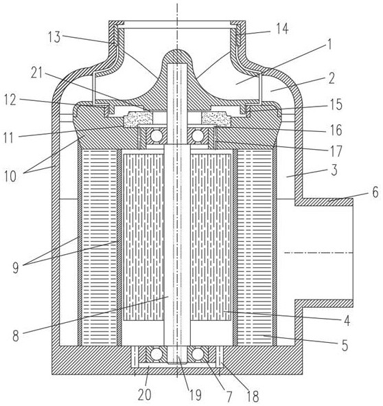
本实用新型提供了一种具有浮动转子的机电一体化导叶式离心泵,属于机械泵技术领域,用于解决传统离心泵运行过程中由径向力和轴向力造成的噪音与振动的技术问题。本离心泵包括泵体和环形压水室,泵体内设置有浮动转子组件、径向导叶、轴向导叶、电机定子、电机定子屏蔽套、节流环、后口环和前口环,浮动转子组件包括离心叶轮、电机转子、滚动轴承和主轴;通过周向对称分布的径向导叶和轴向导叶消除了由于压水室结构周向不对称引起的径向力,并通过第二间隙、第一液流槽、第一液流孔、第二液流孔、第三液流孔、第二液流槽、第三间隙组成自循环水动力轴向力平衡系统消除轴向力,从而有效减弱离心泵运行过程中的振动与噪音,提高稳定性。
