专利号:
CN202221982691.6
摘要:
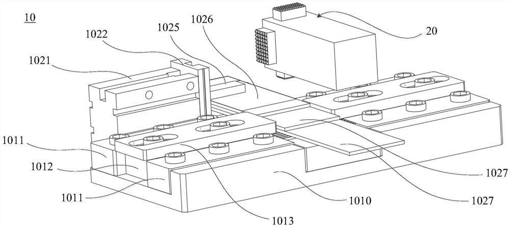
本实用新型公开了一种热辅助超声波焊接成套装置及其系统,包括超声波焊机组件和待焊接件固定组件,待焊接件固定组件包括底座、分别设置于底座上的第一夹持机构和第二夹持机构,夹持机构均包括驱动部件和夹块组,这种装置通过第一驱动部件联动第一夹块组夹紧对待焊接件在第一方向定位,第二驱动部件联动第二夹块组夹紧对待焊接件在第二方向定位;且第二夹块组中夹块的夹持面上设置有加热部,通过加热部对待焊接件进行加热。本实用新型提供的热辅助超声波焊接成套装置及系统在对待焊接件稳定夹持的同时,可以对待焊接件加热,从而可提高对铜、铝这一类导电性良好的异种金属焊接的效果,以及实现辅助加热装置与超声波焊接的协同控制。
