专利号:
CN202222139943.5
摘要:
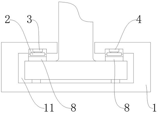
一种机器人底座平衡性测试装置,涉及自动控制器技术领域,包括测试底座和平衡性间接测试组件,所述测试底座设有凸型测试通道,所述凸型测试通道底部为平面,用于机器人底部行走机构通过,凸型测试通道两侧肩部设有用于安装导轨的凹槽,所述平衡性间接测试组件包括两个导轨、用于测试左侧压力变化的一组第一压力传感器、用于测试右侧压力变化的一组第二压力传感器、模拟量输入模块、基于单片机的电路板和显示屏。本实用新型结构设计合理,能够实现对机器人底座在运行过程中倾斜程度的间接检测,从而量化的展示机器人底座稳定性,便于设计人员对机器人底座内各个电器件更优化的平衡性布局。
