专利号:
CN202222643336.2
摘要:
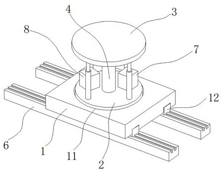
本实用新型公开了一种轨道式焊接转移平台,包括转移平台,所述转移平台上部设置有结构为圆形的限位槽,所述限位槽内侧旋转连接有转盘,所述转盘正上方设置有与其平行的放置板,所述放置板与转盘中间部位连接有液压升降杆,在作业时,通过将较大型构件放置在放置板上,在滑块的配合下使得转移平台沿着轨道的方向往复移动,并带动构件进行快速转移,当需要焊接时,可水平转动转盘,从而带动放置板及构件形成同步旋转,使得焊接角度能够得到尽可能的灵活调节,当需要对构件的焊接点进行上下调节时,启动液压升降杆后通过伸缩端带动放置板进行上下移动,进而使得构件能够根据实际焊接高度进行灵活调整。
