专利号:
CN202222659442.X
摘要:
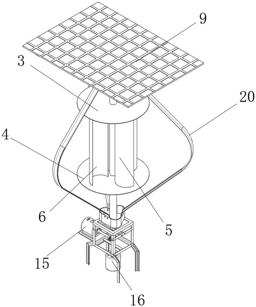
本实用新型公开了一种风能光能互补发电的节能环保发电装置,具体涉及风能光能互补发电技术领域,包括第一加强支撑架,所述第一加强支撑架的顶部设置有发电组件,所述发电组件包括设置在第一加强支撑架上的转轴。本实用新型通过设置发电组件,当风力与连接筒相接触时,会最先通过回流槽在连接筒上形成回流,并通过回流槽导出,提高了连接筒与风力之间的风阻,继而提高了连接筒带动转轴旋转时的牵引力,提高了风力发电的动力,而当第一伞齿轮旋转时会使得横轴旋转,并使得第一发电机和第二发电机能够实现同轴双向将风能转换为电能,提高了本实用新型在使用时的发电效率,方便使用的同时具有良好的实用性。
