专利号:
CN202223042748.7
摘要:
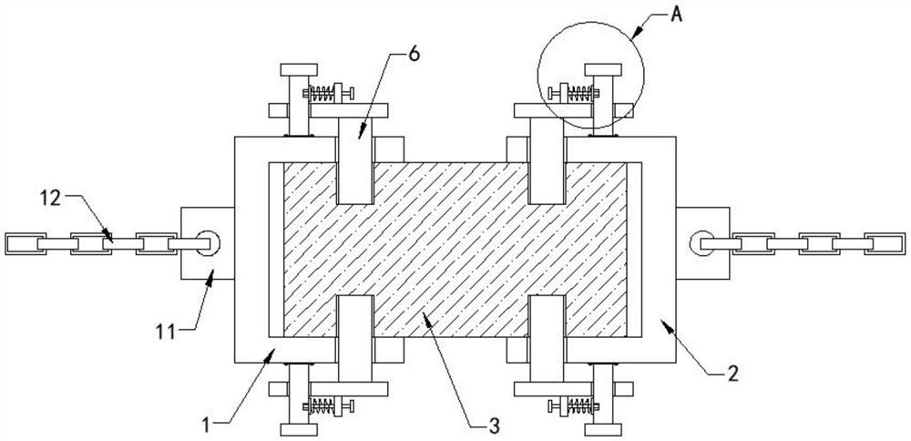
本实用新型公开了一种用于沥青混合料直接拉伸试验的试验模具,包括第一连接筒与第二连接筒,所述第一连接筒与第二连接筒之间设有试件,所述第一连接筒与第二连接筒的两侧外壁上均固定连接有支撑杆,所述支撑杆上滑动连接有移动板,所述移动板的一端底部固定连接有插板,所述第一连接筒与第二连接筒上均设有与插板对应的贯穿口,所述试件上设有与插板对应的插槽,所述移动板的顶端固定连接有支撑块,所述支撑块上滑动插设有限位杆,所述支撑杆的一侧外壁上设有与限位杆对应的限位槽,本实用新型采用卡接固定组件的设置能够高效快捷的对试件进行固定,增加试验效率,适合推广使用。
