专利号:
CN202223056293.4
摘要:
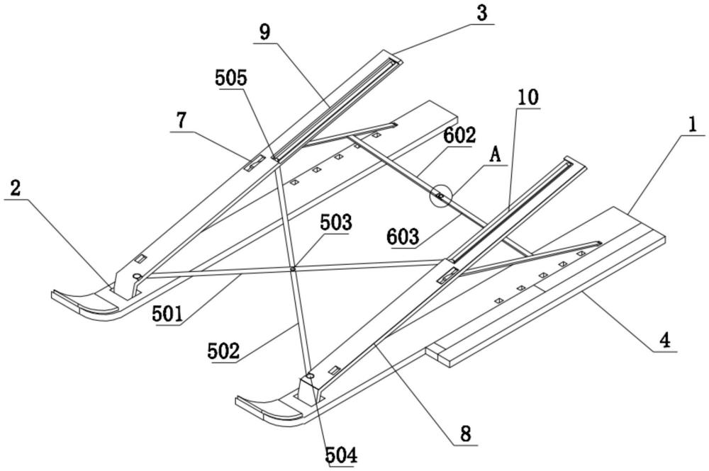
本实用新型公开了一种多功能电脑支架,包括固定杆,所述固定杆设置有两个,所述固定杆的一端开设有第一凹槽,所述第一凹槽内转动连接有调节杆,所述调节杆的中间位置开设有第二凹槽,所述第二凹槽的内部转动连接有固定组件,所述调节杆的一端内侧均开设有第三凹槽,所述第三凹槽内开设有滑道,所述滑道的内部滑动连接有调节组件,所述固定杆的一端内部嵌有第一伸缩杆,所述第一伸缩杆的另一端固定连接有第一定位转动,所述第一伸缩杆通过第一定位转轴转动连接有照明组件。本实用新型采用上述结构,通过固定组件在调节调节杆时更加方便不会被卡住,在周围环境较暗时可以通过照明组件照明,避免在黑暗中看电脑影响视力。
