专利技术

您当前的位置: 网站首页 > 科技成果 > 专利技术 > 正文

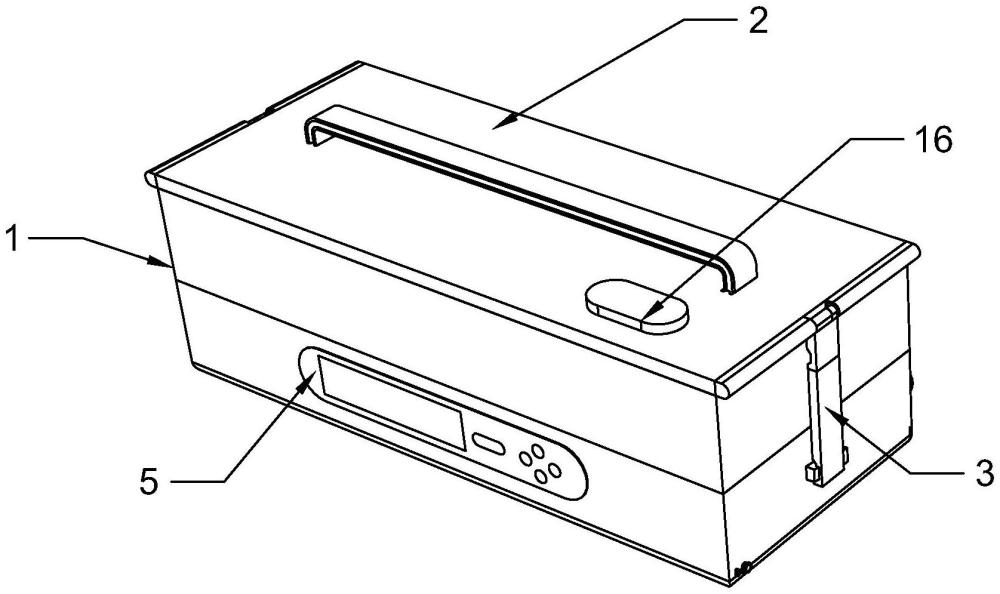
一种保温饭盒
2023-12-20 点击: 作者: 来源:

专利号:

CN202223105304.3

摘要:

本实用新型公开了一种保温饭盒,包括盒体以及盒盖,盒盖与盒体通过卡扣件适配固定,其特征在于:所述的盒体的底部设置有电加热部件,电加热部件的控制板集成设置于盒体外侧;盒体的内侧壁面设置有内衬,所述的内衬由相变材料构成,所述的盒体内还设置有用于容纳食物的容纳盒,本实用新型本产品结构设计合理,具有良好的保温效果,便于各类户外活动食物的保温使用。