专利号:
CN202223505362.5
摘要:
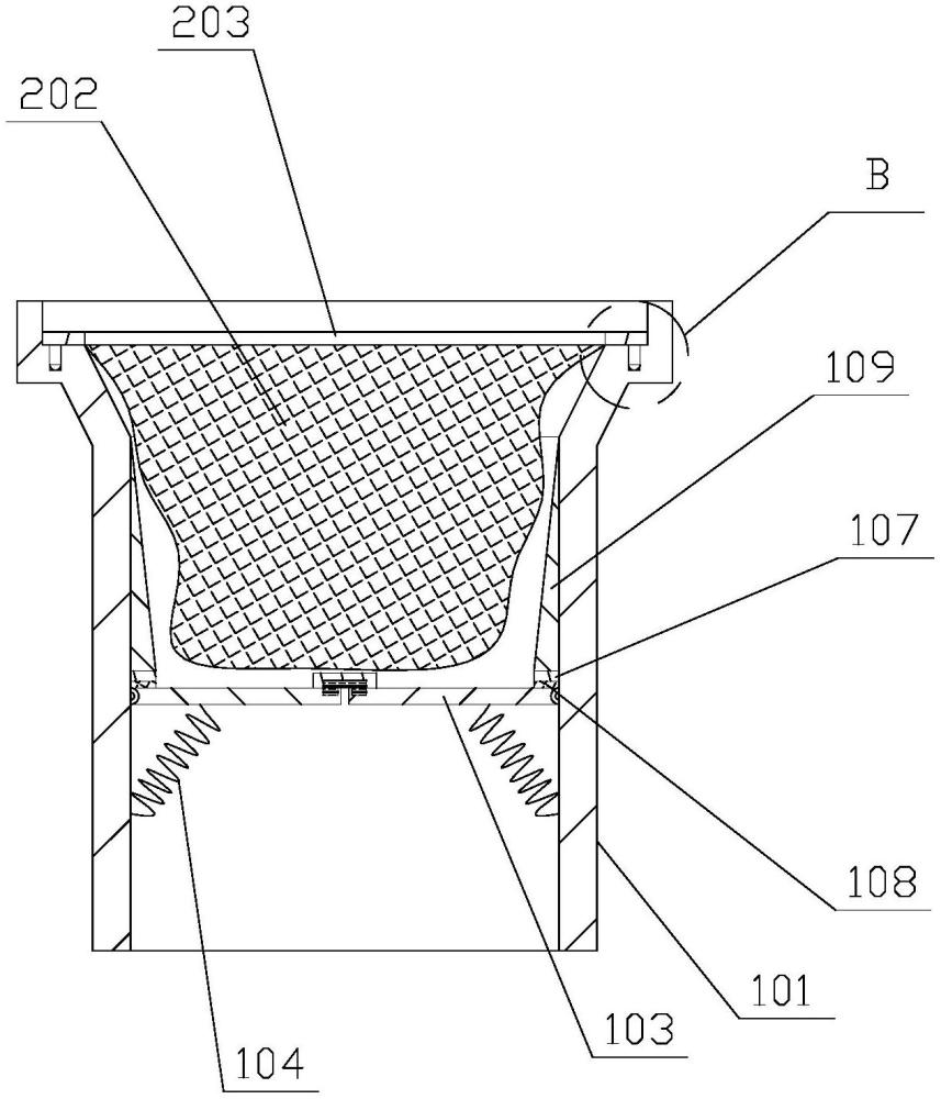
本实用新型涉及地漏技术领域,具体涉及一种防止气溶胶传播的地漏漏芯;包括漏芯主体和密封组件,密封组件包括固定板、两块挡板、两根复位弹簧、第一磁铁和两块第二磁铁,两块挡板均与漏芯主体转动连接,并对称设置于漏芯主体内,固定板设置于漏芯主体内,第一磁铁设置于固定板上,两块第二磁铁均与第一磁铁磁性连接,每块挡板上均设置有第二磁铁,每根复位弹簧的两端分别与漏芯主体和对应的挡板固定连接,通过上述结构的设置,实现了能够提高漏芯主体的密封效果,对气溶胶进行阻断,防止室内人员受到疾病感染。
