出品 |《阀门》期刊作者 |强一佼,吴欧慧
摘要:高温球阀的设计与材料选用对保证其在高温环境下的可靠性至关重要。本文针对高温球阀在设计及运行中出现的典型问题,首先分析了问题成因并提出了相应的解决方案,系统介绍了适用于高温工况的常用材料及其性能特点,阐述了球体与阀座表面喷涂工艺的关键技术与流程。结合某一具体高温工况要求,完成了高温球阀的整体结构设计,并采用有限元方法对关键部件进行了温度场与应力场模拟,结果验证了该结构设计的合理性与可靠性。
关键词:高温球阀;结构设计;材质选择;膨胀量
1
概述
软密封球阀的密封副通常采用橡胶、聚四氟乙烯、PEEK等非金属材料。受限于这些材料的耐温性能,该类球阀一般仅适用于温度不高于250 ℃的工况,常见于温水、空气、天然气及油品等介质。在蒸汽系统、导热油系统、石油化工与炼化装置、火力发电站、煤化工与煤气化、冶金等行业中,球阀的使用温度在通常在250~550 ℃之间,而特殊设计的球阀可以应对760 ℃甚至更高的极端工况。
在高温环境中,持续高温会改变金属材料的物理与化学性能,造成材料屈服强度和抗拉强度下降,甚至引发蠕变现象。由于阀门主体和内件之间不同材料的热膨胀系数存在差异,高温易导致阀门出现卡涩、泄漏或动作失灵等问题;同时,填料长期在高温或温差剧烈波动工况下容易发生氧化和粉化,致使填料失效,介质沿阀杆向外泄漏。此外,高温还会使紧固件发生蠕变而伸长,导致垫片预紧力不足,进而引起介质从法兰面泄漏。
高温球阀适用于≥250 ℃的工况,具有耐高压、密封好、易操作等特点,广泛用于石油化工等行业的高温介质控制。例如,在催化裂化等装置中,该阀门可用于控制600~700 ℃的高温油气等介质,实现可靠截断与调节。钢铁冶炼行业需要确保水路的快速切断,故使用高温球阀,即在高炉热风炉系统中阀体采用铬钼合金钢锻造,球体表面堆焊司太立合金以抵抗高温氧化和颗粒冲刷。航空航天地面试验要求球阀耐受燃气中的高温粒子冲刷,要求高温球阀具备快速响应能力(启闭时间≤1 s),且火箭发动机试车台的高温燃气管道温度达1000 ℃以上,因此要求阀杆采用强化耐热钢,确保其在极端工况下不发生变形。
综上所述,高温球阀主要应用于化工等行业,其典型工况不仅介质温度高、压力波动大,还常伴有腐蚀性介质或颗粒性杂质,对阀门的材料性能、密封可靠性及结构强度提出了极为苛刻的要求。针对上述问题,本文围绕高温球阀的设计,重点探讨了主体材料、密封面材料、螺栓材料的选用,以及热膨胀控制与高温散热等关键问题。结合高温工况特点,设计了一款适用于该环境的高温球阀,并对其材料选择与关键设计参数进行了详细阐述。
2
高温球阀材料选择
2.1 主体及内件材料
高温材料的性能主要体现在优异的抗氧化性、抗蠕变性和高温强度上,以及良好的组织稳定性。与普通碳钢相比,高温材料通过添加关键合金元素来获得这些性能:铬(Cr)提供抗氧化基础;镍(Ni)有助于形成稳定的奥氏体组织,从而保证材料韧性与抗蠕变能力;而钼(Mo)、铌(Nb)、钛(Ti)则通过固溶强化或形成稳定碳化物,显著提升材料的高温强度和抗蠕变性能。材料的高温力学性能(如强度、抗蠕变性等)与化学稳定性(如抗氧化性等)共同决定了其耐高温的极限。阀体、球体、阀座及阀杆的材料需依据高温球阀的具体环境温度进行选择,常用材料选项见表1。
表1 常用材料适配表

2.2 球体及阀座喷涂材料
为提升硬密封球阀在高温、高压、强腐蚀及含颗粒介质等苛刻工况下的密封耐久性,其球体与阀座表面需采用硬化处理工艺,常用的表面处理工艺见表2。这些工艺通过提升表面硬度、耐磨性及耐温性能,显著延长了阀门的使用寿命。
表2 表面处理工艺性能对比

2.3 紧固件材料
紧固件的材料选用见表3。
表3 阀体紧固件材料适配表

3
高温球阀设计注意事项
高温球阀的核心部件(如球体、阀座、阀杆和阀体)常采用高温合金、陶瓷或耐热钢等不同材料制造。在高温环境下,各部件因热膨胀系数差异而发生形变,直接影响球阀的工作性能。若部件间配合间隙过大,易引起阀座同心度出现偏差,导致阀门出现“偏磨”或“卡涩”现象,长期运行将损坏密封面,造成内漏。反之,若间隙过小,高温下材料膨胀可能导致部件卡死,使阀门无法正常启闭;此外,间隙过小还会破坏原有的热传导平衡,造成局部温度过高和热应力集中,进而诱发材料开裂。
3.1 热膨胀计算
热膨胀计算是确保高温球阀在高温工况下不卡涩、不泄漏且启闭正常的关键环节,热膨胀量的计算方法见表4。
表4 材料的膨胀系数表

线膨胀量的计算公式为:
L2=L1×[1+α(T2-T1)] (1)
式中 L1——初始尺寸,mm
T1——初始温度,℃
T2——工作温度,℃
L2——热膨胀后的尺寸,mm
α——膨胀系数
3.2 热应力计算
除热膨胀外,高温球阀在运行中还会因材料膨胀受到约束或部件间存在温差而产生显著的热应力,对该热应力进行准确计算同样是保证阀门可靠性的关键。其基本计算方式如下:
σ=EαΔT (2)
式中 σ——热应力,Pa
E——材料的弹性模量,Pa
ΔT——温度变化量,℃
3.3 散热与隔热结构
当阀门工作温度超过400 ℃时,需设置散热压盖。该部件通过增加轴向长度,延长从阀体到填料函的热传导路径,从而有效减缓了填料处石墨的氧化速率,减少了向执行机构的传热量,避免高温对阀门操控性能产生负面影响。
针对介质温度≥800 ℃甚至1000 ℃的超高温工况(如冶金烟气、催化裂化、垃圾焚烧等),超高温水冷硬密封球阀采用“硬密封结构”与“主动水冷系统”协同设计。该结构通过循环冷却水主动控温,突破传统材料的耐温极限,确保阀门关键密封与运动部件在极端环境下仍能可靠工作,从而保障密封性能与整体结构的稳定性。
散热片(亦称散热翼或冷却翼)是高温球阀中常用且重要的被动散热装置。其工作原理不依赖外部冷却源,而是通过显著增大表面积来加强自然对流与辐射散热效果,从而实现“扩大散热面积+增强空气流动”的双重目标,有效导出阀体热量,防止关键部件高温失效。该结构无需额外动力,兼具经济性与可靠性。
4
高温球阀的常见特殊结构设计
(1)浮动式金属硬密封单向设计
该结构在阀盖上堆焊密封面或设置阀座与石墨圈组合的强制密封,其核心特点是利用上游介质压力实现自紧密封,而非仅依靠弹簧预紧力。在高温工况下,阀盖与密封面作为整体,可同步热膨胀与收缩,有效避免了因阀盖与密封环独立变形导致的密封面错位或间隙增大问题,从而在结构上保证密封面始终紧密贴合。该设计能够补偿高温引起的预紧力衰减和材料形变,显著提升了密封可靠性,同时降低了操作扭矩并避免了卡涩风险。
(2)轨道球阀
轨道式球阀采用“先脱离、后转动”的启闭机制。阀门开启时,球体先沿轴向脱离阀座,再进行90°旋转;关闭时则先回转至密封位置,再沿轴向压紧阀座。该动作方式使球体与阀座仅在启闭的起始和终止阶段发生接触,显著降低了高温下的摩擦磨损,从而确保阀门在高温环境中仍能轻便且可靠地操作,延长了阀门的使用寿命。
(3)楔式密封副高温球阀
该阀门密封副由带锥度(通常为5°~15°)的楔形阀芯与相匹配的阀座构成,形成线接触或窄面密封。在高温环境下,当阀体与阀芯因热膨胀导致密封间隙变化时,楔式结构可借助介质压力或阀杆轴向推力,驱使楔形阀芯进一步“楔紧”阀座,自动补偿热变形间隙,增强密封比压,从而有效避免高温下的密封失效。
5
实际工况下的高温球阀设计
5.1 结构设计
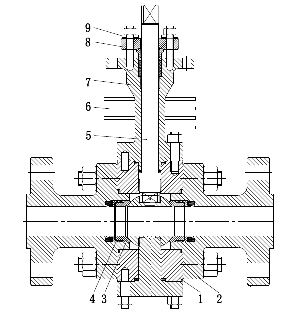
根据给定的工况条件及客户要求,阀门采用美标法兰连接,口径为2英寸,设计压力为7.2 MPa,介质为蒸汽,工作温度为510 ℃,主体材料为A182 F22。依据ASME B16.34标准的中温-压力等级,阀门压力等级选定为Class 1500。球阀采用双向密封的固定球结构,依靠球体两侧阀座背后的弹簧实现热膨胀补偿,其结构详见图1。设计中对关键部件的热膨胀量及热应力进行计算,以确保高温下密封的可靠性;压盖采用加长结构,并在其外部设置散热片,进而有效控制填料函温度,防止石墨填料高温氧化失效;压板处配置碟簧组,能够提供持续稳定的密封比压,补偿因温度变化、零件磨损及介质压力波动引起的密封面间隙变化,从而保障阀门在苛刻工况下的长期密封可靠性。

1.阀体 2.阀盖 3.球体 4.阀座 5.阀杆 6.散热片 7.压盖 8.压板 9.碟簧
图1 球阀结构示意图
5.2 材料选择
根据给定的工况条件(介质为510 ℃,高温蒸汽,设计压力为7.2 MPa),各部件材料选择如下:
(1)阀体选用A182 F22铬钼合金钢。该材料在高温下具有优良的强度、热稳定性和蒸汽兼容性,其中的铬元素可在表面形成致密的Cr2O3氧化膜,可有效抵抗高温蒸汽腐蚀;且该材料在室温下的抗拉强度不低于515 MPa,在510 ℃下仍能保持360~410 MPa的高温强度,满足系统内压载荷要求。
(2)球体与阀座基体采用INCONEL625合金,密封面喷涂碳化铬(CC)硬化层。INCONEL 625具有优异的抗蠕变、抗氧化和耐腐蚀性能,可在1100 ℃以下长期稳定工作,并对氯化物应力腐蚀、点蚀及多种酸性介质具备良好的抵抗能力;而表面碳化铬涂层的使用温度可达700 ℃,进一步保障了高温下的耐磨与密封性能。
(3)阀杆选用INCONEL 718沉淀强化合金。其通过铌、钼等元素形成γ′′强化相,在510 ℃高温下仍能保持极高的强度、硬度和抗蠕变能力,疲劳性能无明显衰减,可长期承受高扭矩与频繁操作带来的应力载荷。
(4)根据阀体材料A182 F22,螺栓选用A193 B7,螺母选用A194 7,以满足高温下的强度匹配与预紧力保持要求。
6
高温球阀高温时有限元分析
有限元分析作为一种数值仿真方法,可对实际工况下的结构模型进行离散化处理,并在模拟中准确施加各类载荷与边界条件,为高温球阀的设计优化与可靠性评估提供科学依据。高温球阀在运行过程中主要承受三种载荷作用:介质内压、热应力(由结构内外壁温差引起)以及装配应力(如阀座与球体间的预紧压力)。有限元分析能够直观呈现上述复合载荷作用下的应力分布状况,识别出球体与阀座接触边缘、阀体与袖管连接区等关键部位的最大等效应力,并将其与材料许用应力进行比较,从而判断结构强度是否满足要求,有效避免了因经验设计中对温度影响估计不足而导致的结构变形或开裂问题。
在高温环境下,球阀因球体表面温度高于内部介质温度、阀体外壁温度低于内壁温度而形成非均匀温度场,进而引发热膨胀。同时,受限于部件间的装配关系,结构内部将产生相应的热应力。这种温度场与应力场的相互耦合是导致高温球阀失效的主要机制之一。基于热传导方程与结构力学方程,利用有限元法可系统模拟球阀的温度分布及热应力变化规律,定量评估热力耦合对其抗力性能的影响。通过分析结果,可准确定位球体在高温状态下的应力集中区域,并据此对球体壁厚进行针对性优化或合理设置冷却结构,从而提升球阀在高温工况下长期运行的可靠性。球体与阀杆的有限元分析结果见图2。

图2 球体与阀杆的有限元分析
根据ASME B16.34标准,球体直径为100 mm,材料选用Inconel 625,其在510 ℃环境下的理论热膨胀量约为0.653 mm;考虑到阀体结构壁厚较大且散热条件较好,实际膨胀量略低于理论值,故取0.55 mm。常温状态下预留的间隙设定为0.25 mm,符合高温工况下0.1~0.3 mm的建议范围;据此计算,高温实际间隙约为0.147 mm,该值大于0.1 mm,能够有效避免卡涩现象,同时未出现负间隙情况,表明阀体腔室材料的选择与间隙设计合理可靠。
在510 ℃下,INCONEL718材料的屈服强度有所下降,在螺栓预紧力与介质压力共同作用下,压盖结构的应力集中区域主要分布于螺栓孔周边、密封槽边缘及法兰密封面根部;经有限元分析,上述区域在高温下的应力值约为400 MPa,仍低于材料在该温度下的屈服强度,可有效避免塑性变形。INCONEL625基体在510 ℃下弹性模量降低,受密封预紧力作用产生轴向压缩变形,典型值为0.01~0.03 mm;而碳化铬(CC)镀层刚性较高,轴向变形量仅为0.002~0.005mm;二者变形协调良好,有助于维持密封面贴合,降低介质泄漏风险。
7
结语
本文针对高温球阀在高温工况下易出现的密封失效、操作卡滞及材料性能退化等问题展开了系统研究,提出了完整的结构改进方案与材料选型策略。以510 ℃高温蒸汽工况为具体研究对象,通过对阀体、球体、阀座、阀杆及表面硬化涂层等关键部件进行热力学计算与材料匹配分析,建立了高温环境下阀门性能的评估体系。采用有限元仿真技术,对阀门在高温高压耦合工况下的应力分布、热变形及密封性能进行了数值模拟,验证了其结构设计的合理性,确保阀门在长期运行中保持优异的密封可靠性、结构稳定性和操作灵活性。但需要指出的是,本文主要聚焦于高温球阀的整体结构设计与材料选型方面,未对密封比压计算、阀杆强度校核等具体力学参数进行详细阐述,也未涉及轴承材料选择及阀座动态密封结构等。在实际工程应用中,建议根据具体的介质特性、压力波动范围及操作频率等工况特点,进一步开展密封副优化、热补偿结构细化及材料表面处理等方面的深入研究,以提升高温球阀在复杂工况下的适应性与使用寿命。
*本文节选自《阀门 · 学术版》2026年第1期,文章内容不代表《阀门》立场,如有不同观点,可以留言讨论,友好交流,共同进步。