专利号:CN201210231153.8
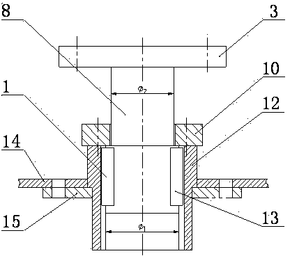
摘要:用于铝锭连续铸造生产线码垛机器人的专用缓冲装置,滑动轴(8)为阶梯轴,直径较大的大轴段上对称的设计有两个键槽,直径较小的小轴段的末端与连接盘(3)焊接在一起,滑动套(12)内表面对称的设计有键槽,滑动轴(8)和滑动套(12)之间装有第一导向平键(1)和第二导向平键(13),盖板(10)通过螺栓组与滑动套(12)连接,减速机(7)固定在码垛机器人(5)上面,减速机(7)的输出轴与连接盘(4)固定连接,连接盘(4)与连接盘(3)之间通过螺栓组连接,码垛机器人(5)的旋转伺服电机(6)的输出轴与减速机(7)的输入端连接。
