专利号:CN201210477915.2
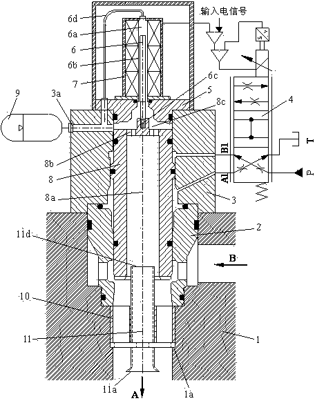
摘要:抗气蚀高频响大流量比例插装阀,在容易出现负压的两处腔体直接连接一个蓄能器(9),当主阀位移传感器衔铁杆的顶端上腔(6a)和主阀芯上腔(8c)在主阀关闭过程中出现负压时,蓄能器(9)中储存的有压油液可直接补充到主阀芯上腔(8c)和主阀位移传感器衔铁杆的顶端上腔(6a),以抑制负压的出现,消除可能出现的负压,有效防止了气穴现象的发生;整流器(10)的整流孔(10e)和导流器(11)的节流通孔(11g)对于主阀口下游的液流具有二级节流作用,使得高速液流(2a)两侧的负压区(8d)及(2b)明显减小,此外整流孔(10c)对通过它的液流具有整流作用,增强流动的稳定性,从而大大降低了噪声及振动。
