专利号:CN201310668635.4
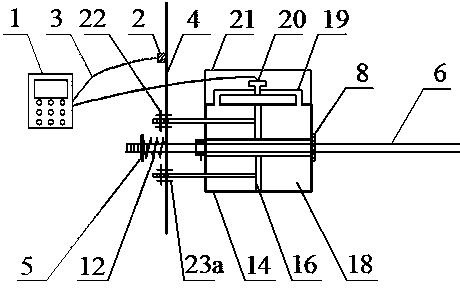
摘要:一种带有半主动变阻尼控制装置的锚管,其结构由控制器(1)、传感器(2)、通讯线(3)、支护结构(4)、锚具(5)、锚固弹簧(12)、通过抱箍(15a)、抱箍(15b)和螺栓(23b)连接中空锚管(6)与变阻尼控制装置(13)构成。变阻尼控制装置(13)由带有抱箍(15a)的液压缸(14)、单向双出杆活塞(16)、油液(18)、旁通管路(19)、电液伺服阀(20)、带有螺栓(23a)的螺帽(22)和护罩(21)构成。本发明的目的是提供一种带有半主动变阻尼控制装置的锚管,解决了目前的锚喷支护结构体系在地震作用下变形过大、甚至破会等无法根治的问题,提高锚喷支护结构的抗震性能和支护体的安全稳定性。
