专利号:CN201410128075.8
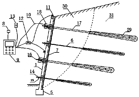
摘要:带有预警耗能减震控制系统的边坡锚固结构及施工方法,属于岩土锚固防灾减灾领域,框架1与锚杆6和控制锚管16通过锚具14锚固,通讯线10将框架1上的位移传感器11和控制锚管16的电液伺服阀25与单片机9连接,形成减震控制锚固结构,其特征在于:还包括在单片机9内安装预警程序,并与报警器13连接,在框架1与不稳定土体30之间增设隔震层7,锚杆6与控制锚管16间隔布置穿过框架1,通讯线10将电源系统8与单片机9连接、单片机9还通过通讯线10分别与放大器12、位移传感器11和电液伺服阀25连接。
