专利号:CN201410618330.7
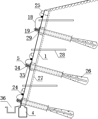
摘要:寒区主动通风冷却自恢复边坡锚固结构及施工方法,属寒区边坡支护领域。包括框架、通风锚管和通风系统,通风锚管是通过定位环在通风管内同轴嵌套锚管,在通风管外同轴套上排风管构成;通风系统由电线连接的风扇、温控开关和太阳能板构成;锚管内注入浆体传过出浆孔与周围稳定冻土粘结;在坡面施设土工格栅、排水管和框架,通风锚管穿过框架;在通风锚管前段依次套法兰垫板和弹簧,用锚具锚固在框架上;土工格栅内种植被,坡脚设排水渠;锚管前段安装风扇,框架上设置温控开关和太阳能板,并由电线连接。本发明自动送风降温效果显著,减胀减震自恢复作用明显,水分梳排及时,格栅护面及植被,促进冻土发育;方法简便易行,施工快捷。
