专利号:CN201410576529.8
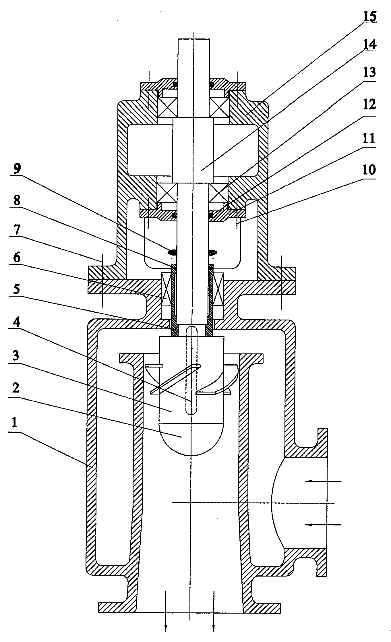
摘要:一种轴流式液力透平装置,它涉及能量回收技术领域,轴承体设置在泵体的上端,且轴承体与泵体之间通过螺栓连接,泵体侧面有一个垂直于轴线的进口,下面有一个轴向的出口,泵体的出口段被包围在筒体中心,出口段最上端设置有一个凸台,液力透平的轴穿设在泵体的中心,且轴套接在轴承内,轴承的下方设有迷宫式油封,迷宫式油封底部的轴承端盖通过螺钉与轴承体连接,设置在轴下端的轴流式转轮设置在泵体的中心,并由轴头螺母紧固在轴上,轴流式转轮内设有键。它实现大流量、低压差、回收功率在0.2-25KW的液体能量回收。
