专利号:CN201510157562.1
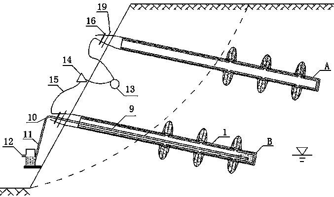
摘要:一种边坡自排水电渗锚杆及施工方法,属岩土锚固技术领域,自排水电渗锚杆由两根电动土工袋、锚具、垫板和虹吸管构成;中空管套入电动土工袋内并伸至底部,袖阀与电动土工袋上的预留孔相扣,袋囊的左右两侧用塑料夹将电动土工袋从外侧绑扎在中空管上;浆体凝固锚固于稳定坡体内,锚具将电动土工袋前段锚固于垫板上;坡面土体内埋设水分感控开关,坡体外安放太阳能电池,导线依次将阳极、水分感控开关、太阳能电池,阴极串联起来;在阴极的中空管内插入吸水管,在坡面通过接头弯管与排水管和平衡出水器连接,吸水管的进水口和平衡出水器出水口高程相同。本发明构造巧妙,同时有锚固、排水和加速固结功能;自动化程度高,施工方法简便。
