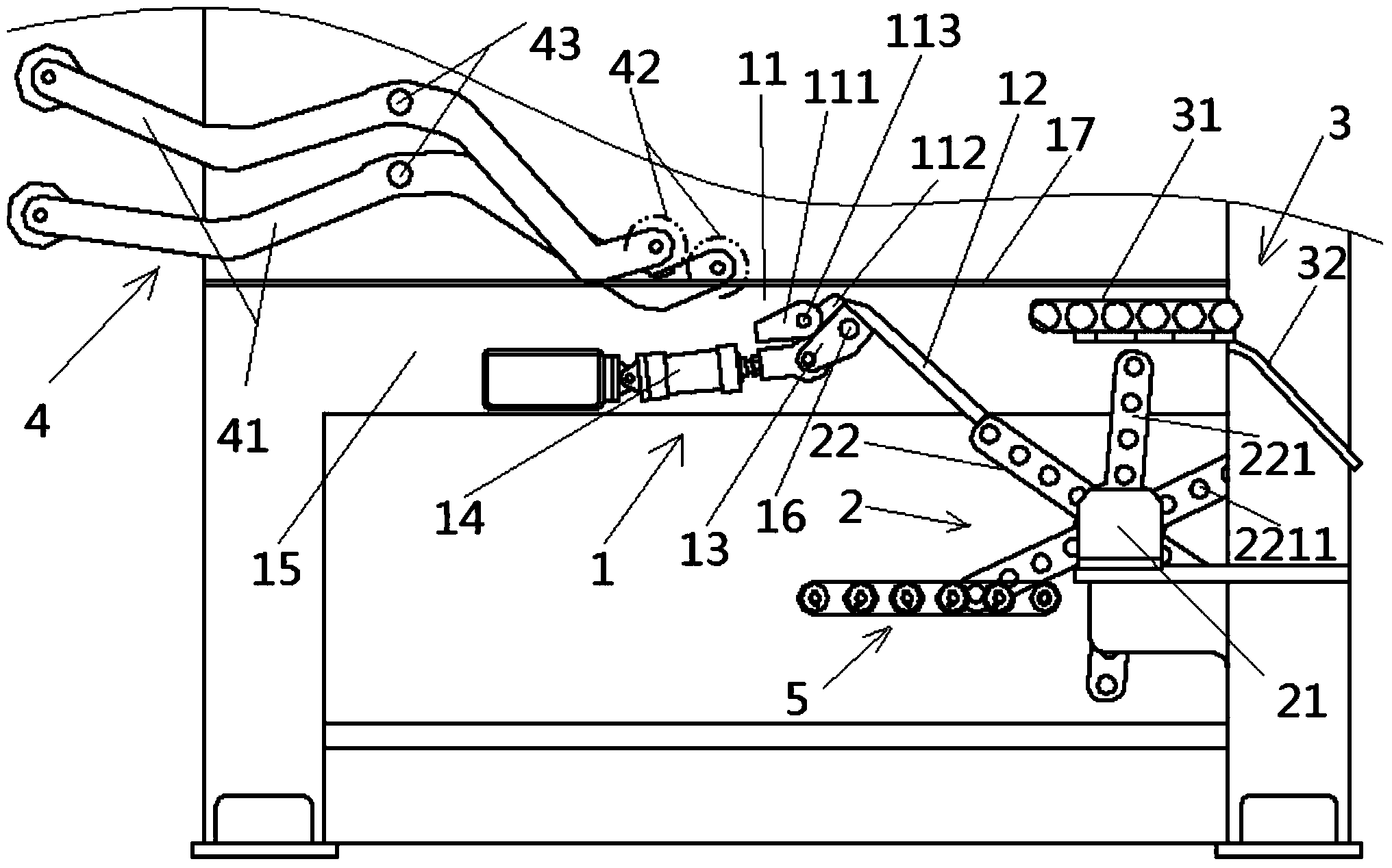
专利号:CN201510216902.3
摘要:为解决现有接锭装置接锭效率低、机构庞大、成本高、易损坏且需要人工值守的问题,本发明提出一种用于铝锭连铸生产线的接锭装置,该用于铝锭连铸生产线的接锭装置包括接锭机构和转运机构,所述接锭机构设置在铝锭连铸生产线的铸模运送链条下方,所述转运机构设置在所述接锭机构与冷却运输机的传送链条之间。使用本发明用于铝锭连铸生产线的接锭装置,接锭板通过气缸直接控制,气缸活塞杆伸出及退回所需时间较短,这使得接锭板在将铝锭转移至转轮架的频率较快,从而使得该装置的接锭效率大大提高,且该装置机构简单,制造成本较低,不易损坏,使用过程中无需人工值守,大大减少了铝锭生产的人力成本投入。
