专利号:CN201610650226.5
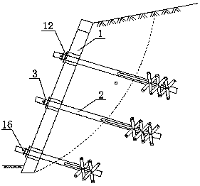
摘要:一种可回收拼装框架锯齿锚杆及施工方法,属于岩土锚固技术领域,包括框架、锚杆和锚具;框架由方管,套筒和十字架连接组成,方管伸入套筒内并由螺栓连接构成横梁和立柱,横梁和立柱分别插入十字架,四周螺栓固定;锚杆由钢管、伸缩杆、钢片和转轴组成,钢管上设有滑槽、第一定位孔和第二定位孔,伸缩杆穿入钢管内,转轴穿过滑槽将伸缩杆与钢管连接,第一定位孔内插入转轴,转轴两端套钢片并由螺帽固定,相邻钢片用螺栓连接;锚杆穿过十字架的中心孔至坡内,推拉仪套于锚杆端头推动伸缩杆,钢片呈锯齿状伸入土体;销钉插入第二定位孔将钢管与伸缩杆连接,锚具和垫板将锚杆锚固于框架上。本发明结构可回收,施工速度,快降低成本。
