专利号:CN201610892936.9
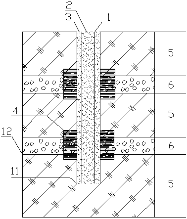
摘要:高压循环注浆微型钢管桩及其施工方法,该微型钢管桩包括微型钢管、水泥静浆填充体、水泥静浆保护层和防漏套桩。施工方法包括6个步骤:1)地质勘查;2)微型钢管桩设计;3)方案制定;4)漏浆层旋喷处理;5)跟管钻进;6)水泥静浆填充体及水泥静浆保护层浇筑,其中防漏套桩应用于地下土体存在漏浆层的工程。本发明结合了微型钢管和水泥静浆各自的优势,采用高压循环注浆技术在微型钢管内外分别形成水泥静浆填充体及水泥静浆保护层,既解决了微型钢管桩在成桩过程中所面临的抱管、卡钻问题又提高了微型钢管桩的耐腐蚀性能及与土体间的摩阻力;同时本发明采用防漏套桩技术较好的处理了跟管钻进及成桩注浆过程中所面临的漏浆难题。
