专利号:CN201611005336.2
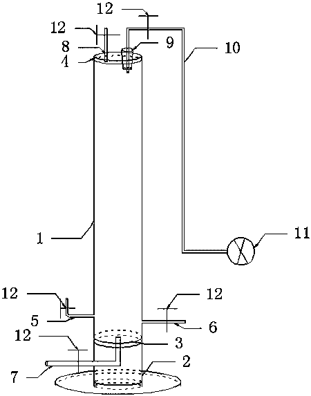
摘要:一种数显马氏瓶及制作方法,数显马氏瓶由储水管(1)、底座(2)、底盖(3)、顶盖(4)、进气管(5)、出水管(6)、补水管(7)、排气管(8)、橡胶塞(9)、通气管(10)、数显真空表(11)、截断阀(12)组成;其制作方法的步骤为:(1)马氏瓶制作方法:储水管(1)开孔连通进气管(5)和出水管(6);底盖(3)开孔连接补水管(7);顶盖(4)开孔连接排气管(8)和橡胶塞(9);底盖(3)和顶盖(4)密封储水管(1)管口;底盖(3)固定在底座(2);(2)数显系统制作:橡胶塞(9)开孔连接通气管(10),通气管(10)另一端连接截断阀(12),截断阀(12)另一端连接数显真空表(11)。
