专利号:CN201710143649.2
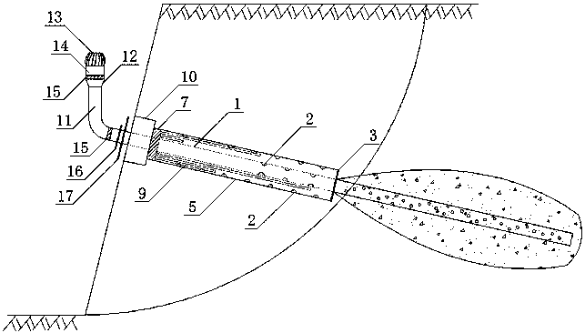
摘要:一种免动力加速对流锚杆及施工方法,适用于冻土边坡,属边坡支护领域。免动力加速对流锚杆包括锚管、对流系统和抽风系统;锚管以挡板为界分为出风段和锚固段;将对流管和进风管无定位支架的一端分别套在连接件上直径较小和较大的插环上,组成对流系统;将抽风管一端的扩大头通过卡箍与无动力通风器的风筒相连,构成抽风系统;把组装完成的对流系统套在锚管的出风段上,待注浆体达到设定强度后用锚具和垫片将锚管锚固于坡面上;利用卡箍将抽风系统与锚管相连。本发明结合烟囱效应和无动力通风技术,无需额外动力即可加快坡体内对流换热速率,增强降温效果,从而保证冻土边坡的稳定性。
