专利号:CN201710338080.5
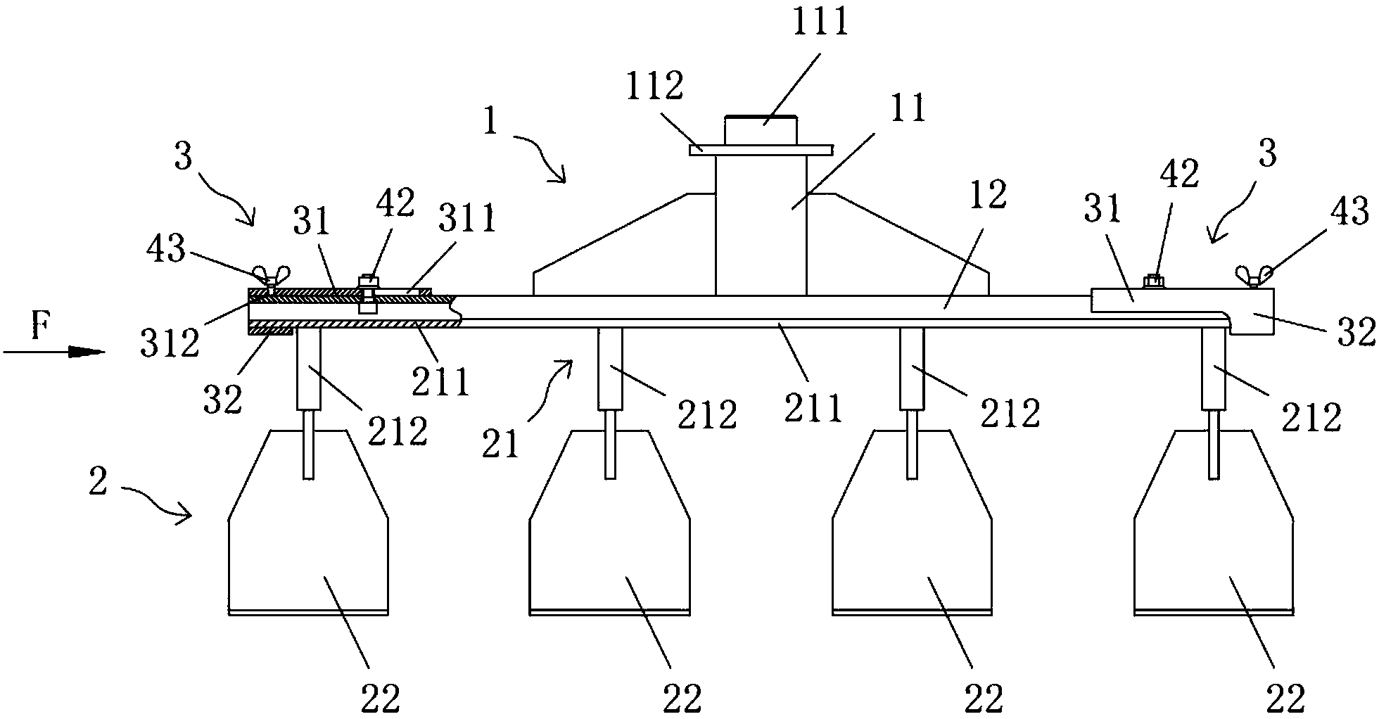
摘要:本发明属于铝锭连续铸造生产设备领域。为了解决采用现有方法对机器人的打渣铲进行更换过程中,存在更换时间长和高温危险的问题,本发明公开了一种铝锭连续铸造生产线打渣机器人的打渣装置。该打渣装置,包括固定架、渣铲组件以及快换夹具;所述固定架为T形结构,包括竖直架和水平架,所述竖直架的一端与机器人连接,另一端与所述水平架连接;所述渣铲组件包括渣铲板和渣铲座,所述渣铲板与所述渣铲座固定连接;所述渣铲组件位于所述固定架的下方位置;所述渣铲座通过所述快换夹具与所述水平架可拆卸连接。本发明的打渣装置,不仅可以实现对打渣铲的在线快速更换,提高工作效率,而且避免了高温拆装操作,提高了操作过程的安全性。
