专利号:CN201710398967.3
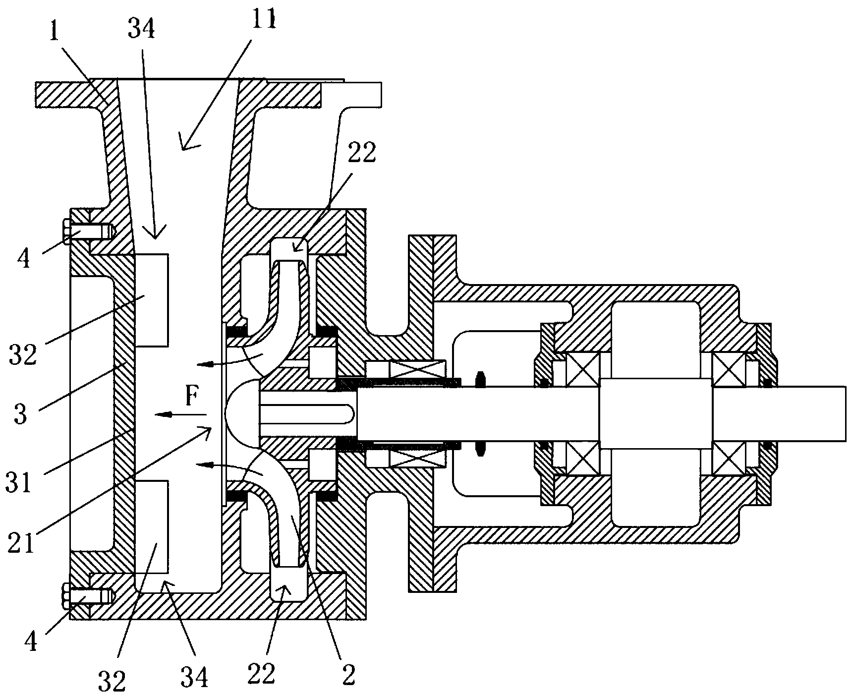
摘要:本发明属于流体机械领域,具体涉及一种壳体出口方向与叶轮出口方向相互垂直的液力透平。为了解决在壳体出口与叶轮出口相互垂直的液力透平中,流体流经叶轮出口与壳体出口之间部分时存在着水力效率损失严重的问题,本发明公开了一种液力透平。该液力透平,包括壳体、叶轮以及导流器,所述导流器与所述壳体固定连接,并且所述导流器的工作面与所述叶轮的出口端沿水平方向相向对应;在所述导流器的工作面上沿圆周方向均布有多个导流叶片,并且形成位于所述导流器中心位置的导流进口和位于所述导流器边缘位置的导流出口。该液力透平通过导流器中导流叶片对流体的导流作用,可以降低叶轮出口与壳体出口之间的阻力损失,提高液力透平的水力效率。
