专利号:CN201720715413.7
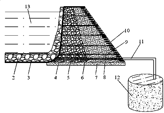
摘要:本实用新型涉及一种黄土丘陵沟壑区泥石流灾害资源化防治结构,该防治结构包括设在泥石流沟道上的拦挡坝(1),铺设在该拦挡坝(1)底部的垫层(7),沿所述拦挡坝(1)迎流面铺设并向其内侧地面延伸的浆砌片石(2)以及埋设在所述拦挡坝(1)中的排水盲沟(4);所述浆砌片石(2)与所述泥石流沟道之间形成一存储库,该存储库用于收集、沉淀泥土和水;所述排水盲沟(4)用于将所述存储库中的水导出,以便回收利用。本实用新型的应用既能实现对泥石流灾害的治理,又能变废为宝即有效回收利用泥石流所带来的水土资源,创造了良好的水、土生态环境。
