专利号:CN201721050806.7
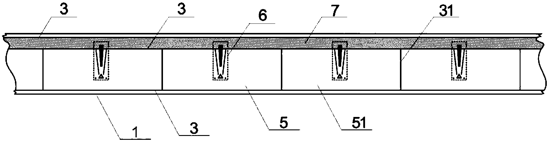
摘要:本实用新型涉及包装和日用品技术领域,尤其是涉及一种带有气囊的胶带。其特点是包括第一薄膜层和第二薄膜层,所述的第一薄膜层和第二薄膜层通过横向热封线封隔为充气通道和气体储存囊,充气通道的腔壁外表面一侧设置有粘胶层。其气体储存囊通过多个纵向热封线封隔为多个气体储存分囊,通过充气通道可以对所有的气体储存分囊一次性充气,气体储存分囊充满后单向气阀自动锁气,充气便利快捷。由于每一个气体储存分囊之间互不影响,单个气体储存分囊的破损,不会影响其余气体储存分囊,仍然能够维持保护效果,安全性好。本实用新型为长带状,可盘为卷,可根据实际使用量多次截取,其结构简单,易于生产,使用方式多样,使用范围广泛。
