专利号:CN201710835881.2
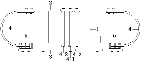
摘要:分梯段金属屈服耗能型隔震装置及安装方法,相互平行的上连接板(2)和下连接板(3)的中心区域固定天然橡胶支座(1),上连接板(2)和下连接板(3)的四周布设四组U形钢阻尼器(4),通过在天然橡胶支座(1)的上连接板(2)和下连接板(3)之间增设可以实现分梯段屈服的U形钢阻尼器(4),方法的步骤为:组装隔震装置,将隔震装置放置实际结构中,将装置的上连接板(2)、下连接板(3)分别与上预埋板(8)、下预埋板(9)及预埋套筒(10)固定连接,再将上预埋板(8)、下预埋板(9)分别与上支墩(6)、下支墩(7)的钢筋笼通过焊接固定并进行整体浇筑。
