专利号:CN201721358209.0
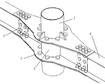
摘要:装配式圆钢管混凝土柱‑H形钢梁一体式法兰外环板节点,属于结构工程技术领域,包括带法兰外环板上柱端,带法兰外环板下柱端,带法兰外环板节点域,连接板,H形钢梁。上、下柱端由加劲法兰外环板与圆钢管柱焊接而成,带法兰外环板节点域由圆钢管柱、法兰外环板、悬臂腹板在工厂加工并焊接而成,上下柱端法兰连接采用扭剪形高强螺栓,钢梁翼缘连接采用普通高强螺栓,钢梁腹板连接采用摩擦型高强螺栓。本实用新型分为三个施工阶段,第一阶段由工厂预制模块化构件,第二阶段通过高强螺栓的连接方式在现场进行装配,第三阶段在现场浇灌混凝土。本实用新型的装配式节点具有抗震性能好、承载力高、施工迅速环保的优点。
