专利技术

您当前的位置: 网站首页 > 科技成果 > 专利技术 > 正文

用于定向凝固设备的高温度梯度定向凝固冷却器
2025-03-18 点击: 作者: 来源:

专利号:CN201711017734.0

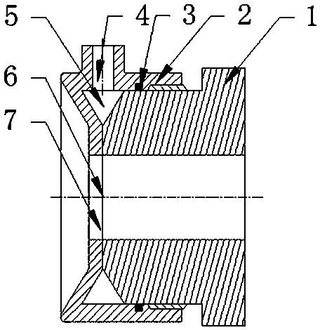
摘要:用于定向凝固设备的高温度梯度定向凝固冷却器,安装在温度调节器末端,定向凝固冷却器还包括调节阀芯(1)、金属壳体(2)、密封胶圈(3)、冷却气体进入孔(4)、环形空腔(5)、环形冷却气体喷出缝隙(6)、金属杆进孔(7)、陶瓷绝热垫圈(8),其中金属壳体(2)上设有冷却气体进入孔(4);金属壳体(2)的凹嘴前端与调节阀芯(1)形成环形冷却气体喷出缝隙。