专利号:CN201810193940.5
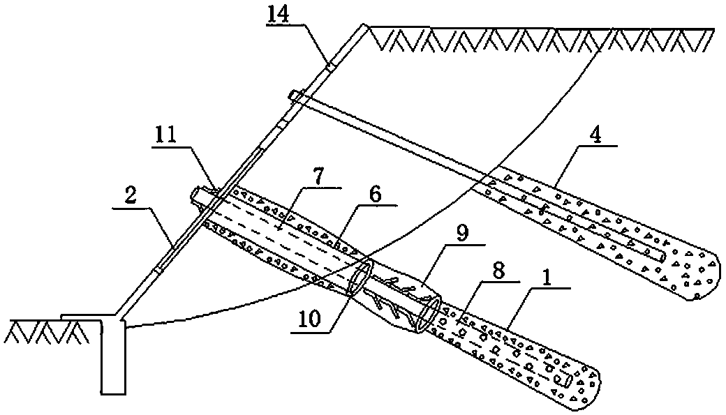
摘要:一种自适应预应力锚杆复合土钉墙及施工方法,属支挡工程领域。自适应预应力锚杆复合土钉墙,包括自缩土钉、挡土板、装配式框架、预应力锚杆;通过螺栓将装配式框架的H型钢的翼缘两端与十字形连接件连接;预应力锚杆穿过十字形连接件的预留锚孔打入土体中,并通过锚具锚固在十字形连接件上;自缩土钉穿过挡土板中心圆形孔伸入土体使其卡在挡土板上,通过螺栓将挡土板固定在H型钢靠近土体一侧的翼缘上,构成自适应预应力锚杆复合土钉墙。本发明结构简单,组装化程度高,施工方法简便可行,弥补了现有的预应力锚杆复合土钉墙中土钉与预应力锚杆不能协同工作的缺陷。
