专利号:CN201810713856.1
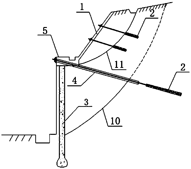
摘要:一种可卸荷桩锚多级支护结构及施工方法,属于岩土工程锚固技术领域。可卸荷桩锚多级支护结构包括框架锚杆和桩锚组合结构;框架锚杆由框架和锚杆组成,锚杆通过锚具锚固在框架上;桩锚组合结构由锚杆、钻孔灌注桩、卸荷注浆承载钢管和冠梁组成,钻孔灌注桩底部浇筑扩大头,顶部浇筑冠梁,卸荷注浆承载钢管穿过冠梁上的预留通道打入稳定土体,锚杆穿过卸荷注浆承载钢管一端锚固在稳定土体中,另一端固定在冠梁上;框架锚杆下部的立柱浇筑在冠梁上。本发明可以充分利用卸荷注浆承载钢管和锚杆自由段在不稳定土体与桩之间的抬升作用卸荷,减小作用在桩身的土压力,解决了支护排桩的嵌固深度、直径和配筋以及与框架共同工作的锚杆长度的问题。
