专利号:CN201810750038.9
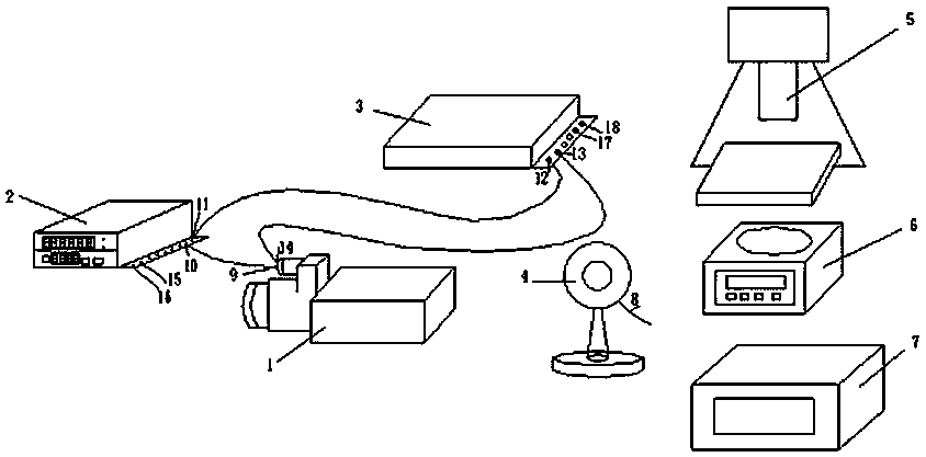
摘要:一种液压滑阀副摩擦试验系统及试验方法,包括摩擦试验部分、试验测量部分、监控摄像机,由液压滑阀、循环计数器、交直流转换器串联连接组成摩擦试验部分,通过循环计数器控制交直流转换器提供给液压滑阀的电流信号的通断,实现液压滑阀的循环换向和滑阀副的摩擦试验;液压滑阀是液压滑阀副摩擦试验装置,液压滑阀油口全部封堵,滑阀内储存部分油液,液压滑阀阀芯由电磁铁驱动和弹簧复位实现往复直线运动;循环计数器输出动作按开-关-开循环控制电流的通断;交直流转换器是将交流电转换成直流电的装置;形貌仪、天平、铁谱仪组成试验测量部分,分别用于测量滑阀副表面形貌、阀芯称重、油品检测;监控摄像机是监控摩擦试验系统状态的装置。
