专利号:CN201810897536.6
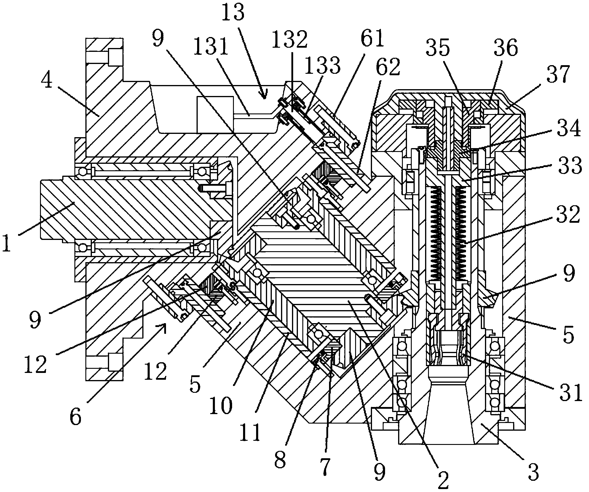
摘要:本发明属于机加工设备技术领域。为了解决机加工设备中采用现有立卧自动转头时,存在体积大、质量大以及传动精度低的问题,本发明公开了一种立卧转换摆角头。该摆角头包括输入轴、传动轴、主轴、箱体、主轴外壳、驱动单元、齿轮和齿圈;箱体设有输入轴孔,输入轴位于输入轴孔内并且输入轴的输入端与动力源连接,输出端与传动轴的输入端连接;主轴外壳设有传动轴孔和主轴孔;传动轴位于传动轴孔内并且传动轴的输出端与主轴连接;主轴位于主轴孔内;驱动单元位于箱体与主轴外壳之间;齿轮套设在传动轴上,齿圈位于传动轴孔内,齿轮与齿圈沿传动轴的轴线方向选择性啮合和脱离。本发明的立卧转换摆角头,不仅体积小、质量小,而且可以提高传动精度。
