专利号:CN201910543373.6
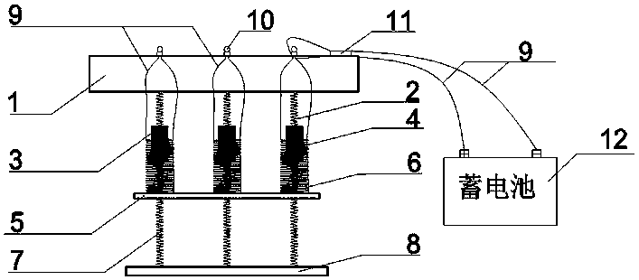
摘要:本发明涉及一种垂直式水振动能量捕获发电系统,该系统包括浮板、线圈底板、固定在河床上的固定底板和置于河岸上的蓄电池。所述浮板上设有数个指示灯和带罩壳的半导体整流器,该半导体整流器与所述蓄电池相连;所述线圈底板上布设有数个线圈,每个线圈内设有永磁体;所述浮板与所述永磁体之间、所述永磁体与所述线圈底板之间、所述线圈底板与所述固定底板之间均通过弹簧连接;数个所述线圈与数个所述指示灯一一对应相连。本发明利用河流、湖泊中水面波动的能量,并利用电磁感应现象发电,体积小、结构简单、安装简易、成本低、应用性强,可用于晚上为乡村河道路边的路灯等其他设施提供电能,为居民生活提供便利。
